
据央视新闻,记者今天(23日)从中国连锁经营协会了解到,中国连锁经营协会日前对全国3万多家连锁超市门店进行了摸底调查。调查显示,2025年,我国连锁超市整体经营呈现稳中有升、分化明显的特征。数据显示,被调查的3万多家超市门店2025年总销售额超过4000亿元。其中,销售总额同比增长或持平的企业占比为58%。从净利润看,2025年净利润同比增长或持平的超市企业占比为67%明珠国际,较2024年的25%明显回升,显示盈利修复正在改善。
举报 相关阅读
长城汽车:2025年汽车销量为132.4万辆,同比增长7.33%长城汽车:2025年汽车销量为132.4万辆,同比增长7.33%
52 01-01 18:23
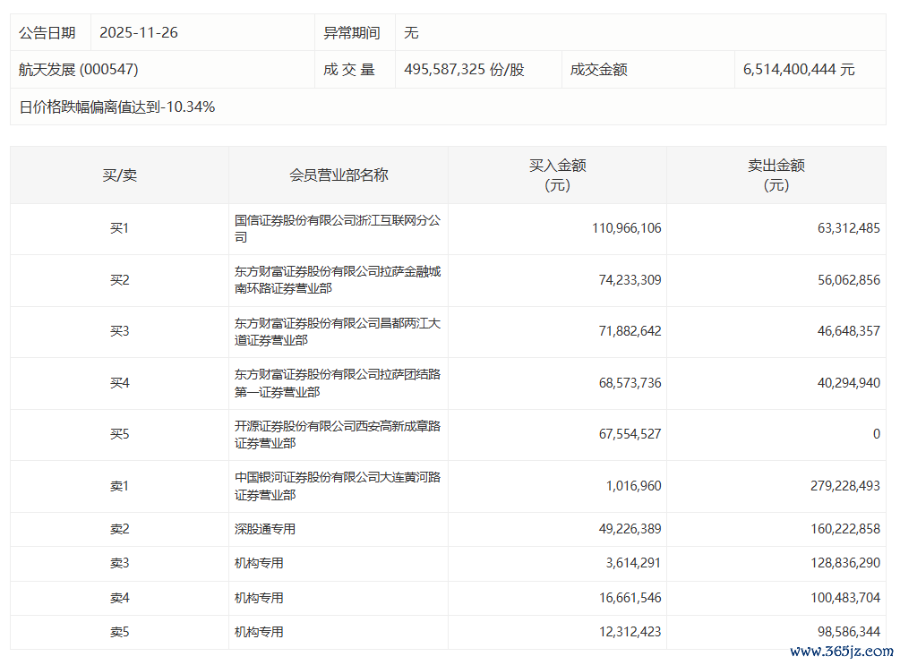
航天发展今日跌10.00% 陈小群席位净卖出2.78亿元明珠国际航天发展今日跌10.00% 陈小群席位净卖出2.78亿元
0 2025-11-26 16:44
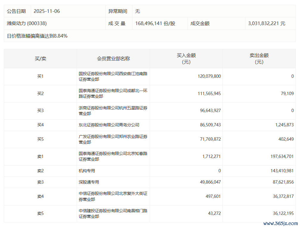
潍柴动力今日涨停,有1家机构专用席位净卖出1.43亿元潍柴动力今日涨停,有1家机构专用席位净卖出1.43亿元
0 2025-11-06 16:28
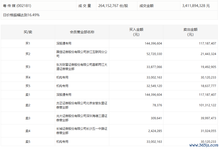
粤传媒今日涨3.14%,2家机构专用席位净买入1679.33万元粤传媒今日涨3.14%,2家机构专用席位净买入1679.33万元
0 2025-11-05 16:31
思维列控今日跌9.87%明珠国际,有4家机构专用席位净卖出1.25亿元思维列控今日跌9.87%,有4家机构专用席位净卖出1.25亿元
17 2025-11-03 17:06 一财最热 点击关闭广瑞网提示:文章来自网络,不代表本站观点。